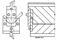
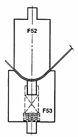
Radius Forming Dies

Have one to sell?
ConditionNew
1 available